Lo-Tectonic: Explorations in Homemade Assemblies




Methods, Materials & Messages (MMM)
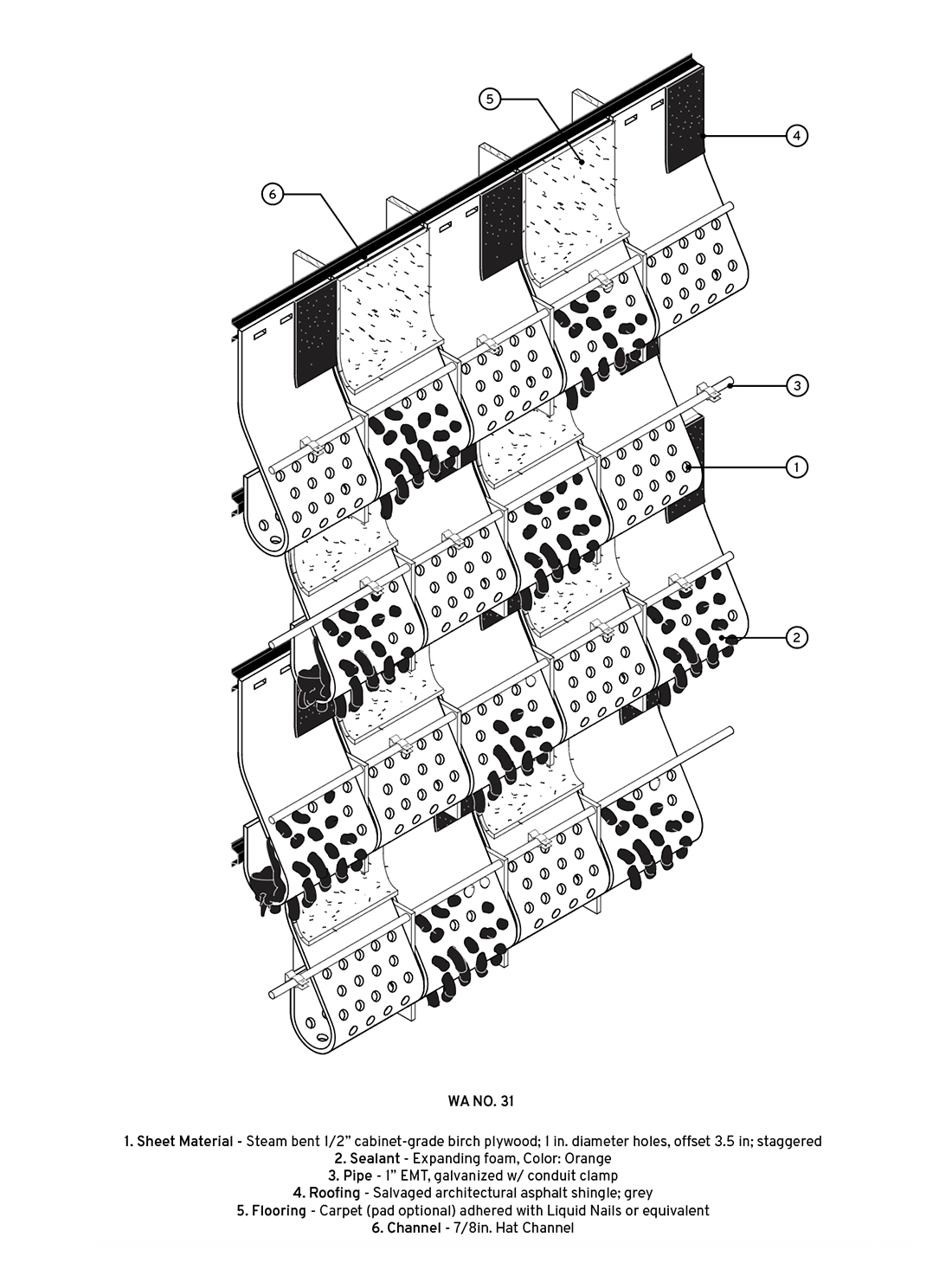
hese proposed construction assemblies consider an alternate architectural tectonic and aesthetic of building materials and construction methods. First, we're accomplishing this by removing the mandate that an architectural assembly has to "do something" vis-a-vis: 1. Keep water out; 2. Maintain thermal comfort; 3. Be aesthetically pleasing; 4. Provide shelter, etc. Secondly, we're recontextualizing building methods for our own purposes. For example, utilizinig the Bubble Deck construction (Method) in conjunction with block molds of fake plants, bound by glow-in-the dark resin, and party balloons (Materials).
Additionally, we're using the convention of an isometric drawing (Messages) to explore these questions, similar to the drawings used by building cladding manufacturers. We're also borrowing from the UL specification diagram familiar to most practicing architects in the US.
This is an on-going research project.
Name: Lo-Tectonic
Location: N/A
Status: Ongoing
Design Team: West Workshop
Images: Kurt West & Marc Haas
Location: N/A
Status: Ongoing
Design Team: West Workshop
Images: Kurt West & Marc Haas
